투명하고 유연한 발열기
유전성 젤 발열
유연 전자소재
균일 온도 제어
기술 개요
기술 상세
사업화 방안
기술이전 시나리오
400%의 고신축성과 85%의 투과율을 동시에 구현하여,
보이지 않으면서도 가장 완벽한 곡면 발열을 제공하는 차세대 유전체 젤 기반 발열 기술
기술 핵심 개요
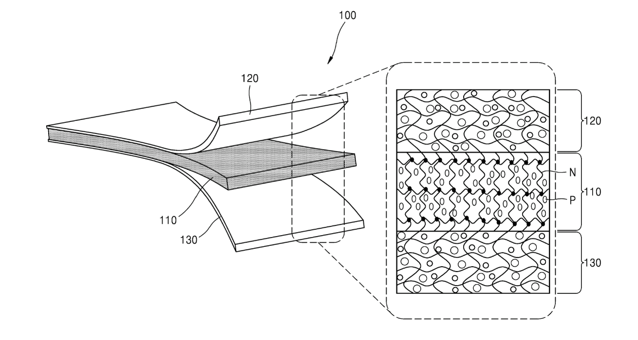
유전체 젤 내 가소제의 물리적 운동을 이용한 고신축·투명 발열 솔루션
- 400% 초고신축성: 기존 한계를 넘어 관절 부위 등 극한의 변형률에서도 안정적 발열 유지
- 85% 고투명도: 가시광선 투과율이 매우 높아 시야 방해 없이 스마트 윈도우 및 의료기기 적용 가능
- 지능형 자가 제어: 설정된 포화 온도 도달 시 추가 상승을 차단하여 저온 화상 위험 원천 방지
- 정밀 국부 발열: 낮은 열전도율을 활용해 필요한 영역만 선택적으로 가열하여 에너지 효율 극대화

연구자 코멘트
본 내용은 연구자가 직접 작성한 내용입니다.
한국과학기술원 (KAIST) 기계공학과 경기욱 교수
"기존의 유연 발열체들이 가졌던 신축성과 투명도 사이의 Trade-off 문제를 유전체 젤이라는 새로운 메커니즘으로 해결했습니다. 400% 이상의 극한 변형 상황에서도 발열 성능이 유지되는 이 기술은 인체와 로봇의 피부는 물론, 정밀 의료기기 분야에서 시각적 간섭 없는 완벽한 열 햅틱 경험을 제공할 것입니다. 특히 자가
온도 조절 기능을 통해 별도 제어기 없이도 사용자의 안전을 보장한다는 점이 기술 사업화의 핵심적인 경쟁력입니다.”
기술 차별성
1. 발열 메커니즘 및 신축성
기존 기술의 한계
금속 나노와이어나 메쉬 구조를 활용한 열 저항 방식은 신장 시 전극이 단선되거나 저항이 급격히 변해
발열 성능이 저하됩니다.
본 기술의 차별점
유전성 젤 내 가소제의 물리적 운동을 이용해 열을 발생시키므로, 400% 이상의 극한 변형에서도 성능
변화 없이 균일하게 발열합니다.
2. 광학적 투명성 및 심미성
기존 기술의 한계
발열 성능을 높이기 위해 전극 밀도를 높이면 투명도가 급격히 떨어지고 탁도(Haze)가 증가하여 시각적 간섭이 발생합니다.
본 기술의 차별점
전극과 발열층 모두 투명한 하이드로젤과 PVC 기반 소재를 사용하여 가시광선 영역에서 85% 이상의
높은 투과율을 유지합니다.
3. 안전성 및 제어 편의성
기존 기술의 한계
과도한 전류 인가 시 온도가 계속 상승할 위험이 있어, 이를 제어하기 위한 별도의 복잡한 피드백 회로와 센서가 필수적입니다.
본 기술의 차별점
특정 주파수 대역에서 물리적으로 온도가 포화되는 자가 온도 조절 특성을 가져 별도 장치 없이도 화상
위험을 방지하고 안전성을 확보합니다.
기술 문의
한국식품연구원 최효경 박사
Tel 010-8978-6417
E-mail jg.lee@rncircle.io
주식회사 디써클 이준구 매니저
Tel) 0507-1312-6417
E-mail jg.lee@rndcircle.io

연구자로부터
기술 상세 내용을
직접 확인해보세요
맞춤형 인사이트 리포트
기술이전 가능성/방향성 도출 리포트
연구실과의 협력 및 기술이전 방안에 대해,
지금 바로 확인해보세요